• �ٷ�΢��
微信微信 二维码
免费发布租赁设备信息网站首页 > 设备出租
  • 英制滚针轴承 bri系列 带内圈

    常州扬帆轴承有限公司
  • 价格:¥价格面议
  • 设备类型: 专用设备
    型号:
    品牌: 国产
    产地 : 国产
    所在区域:
    主要参数:
    加工能力:
    详细地址:查看申请
  • 联系人:查看申请电话:查看申请

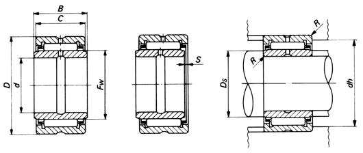
entity bushed needle roller bearing 实体套圈滚针轴承
质量是一个公司生存和发展的生命线,我们一直坚信优质和良信是企业发展壮大的基础,因此我公司很抓质量管理,在轴承制造的每一个环节,严格把关,尽我们所能为客户提供最好的产品。正因为如此,我公司产品经过ewc质量管理体系认证,质量标准达到iso90001全部适用条款要求。

 

轴径

轴承型号

mm

标准装配尺寸

mm

基本额定负荷

极限转速1)

c

co

mm

fw

d

c

dh

max

r(2)

max

kgf

kgf

rpm

9.525

bri  61812

15.875

28.575

19.050

24.5

0.6

1930

2010

25000

12.700

bri  82012

19.050

31.750

19.050

26.5

1

2220

2490

20000

bri  82016

19.050

31.750

25.400

26.5

1

2810

3380

20000

15.875

bri  102212

22.225

34.925

19.050

29.7

1

2340

2770

18000

bri  102216

22.225

34.925

25.400

29.7

1

2970

3760

18000

19.050

bri  122412

25.400

38.100

19.050

32.9

1

2580

3250

16000

bri  122416

25.400

38.100

25.400

32.9

1

3280

4420

16000

22.225

bri  142616

28.575

41.275

25.400

36

1

3560

5090

14000

bri  142620

28.575

41.275

31.750

36

1

4410

6690

14000

25.400

bri  142620

31.750

44.450

25.400

39.2

1

3670

5450

13000

bri  162816

31.750

44.450

31.750

39.2

1

4550

7180

13000

28.575

bri  162820

34.925

47.625

25.400

42.4

1

3930

6120

11000

bri  183020

34.925

47.625

31.750

42.4

1

4870

8060

11000

31.750

bri  203316

38.100

52.388

25.400

45.1

1.5

4460

6820

11000

bri  203320

38.100

52.388

31.750

45.1

1.5

5530

8980

11000

34.925

bri  223516

41.275

55.562

25.400

48.3

1.5

4570

7230

9500

bri  223520

41.275

55.562

31.750

48.3

1.5

5670

9530

9500

38.100

bri  243716

44.450

58.738

25.400

51.5

15

4850

7980

9000

bri  243720

44.450

58.738

31.750

51.5

1.5

6010

10500

9000

bri  243820

44.450

60.325

31.750

53.1

1.5

6010

10500

9000

bri  243920

47.625

31.912

31.750

54.7

1.5

6130

11000

8500

50.800

bri  264116

50.800

65.088

25.400

57.8

1.5

5200

9110

8000

bri  264120

50.800

65.088

31.750

57.8

1.5

6440

12000

8000

44.450

bri  284824

57.150

76.200

38.100

69

1.5

9200

16100

7000

bri  284828

57.150

76.200

44.450

69

1.5

10700

19500

7000

50.800

bri  325224

63.500

82.550

38.100

74.3

2

9640

17700

6500

bri  325228

63.500

82.550

44.450

74.3

2

11200

21400

6500

57.150

bri  365624

69.850

88.900

38.100

80.7

2

10100

19300

5500

bri  365628

69.850

88.900

44.450

80.7

2

11700

23300

5500

63.500

bri  406024

76.200

95.250

38.100

87

2

10700

21600

5500

bri  406028

76.200

95.250

44.450

87

2

12400

26100

5500

69.850

bri  446828

82.550

107.950

44.450

99.7

2

14400

26400

5000

bri  446832

82.550

107.950

50.800

99.7

2

15700

29500

5000

76.200

bri  487232

88.900

114.300

50.800

106.1

2

16500

32100

4500

82.550

bri  527632

95.250

120.650

50.800

111.4

2.5

17200

34900

4000

88.900

bri  568032

101.600

127.000

50.800

111.4

2.5

18000

37500

4000


湖南工匠--制造协作云服务平台 Copyright © 2010-2016 湖南云协网络信息科技有限公司 www.hunangj.com
网站合作:高考数据网-单招网 设为首页 | 加入收藏 | 广告服务 | 联系方式 | 关于我们 | 本网动态 | 法律声明 | 联系客服

电话:0731-85780201 传真:0731-85780201 湘ICP备15006475号-2 湘公网安备 43019002000053号